Ручной насос «Watergood» - отзыв

Ручной насос «Watergood» отзывы
  • Ручной насос «Watergood» -  - Фото 964826
  • Ручной насос «Watergood» -  - Фото 964825
  • Ручной насос «Watergood» -  - Фото 964824
+1
-0
Цена: 5 500 руб.
Средняя оценка: 5 из 5
Рекомендуют: 100%
Сайт:
Бренд: Watergood

Суть продукта, обзор характеристики:

Обзор: Ручной насос «Watergood» Ручной насос «Watergood».

Хороший ручной насос для круглогодичного использования на даче. Ручной насос «Watergood»

Ручной насос «Watergood»

Отзыв о Ручной насос «Watergood»

Так получилось, что мой дачный участок не в дачном кооперативе. Когда-то купил у местного деревенского жителя земельный участок. Хороший участок.

У озера. То, что электричества не было, не смущало. Постепенно соседние участки раскупили и застроили. Один из владельцев оказался влиятельным человеком, и добился того, чтобы протянули электролинию. Скинулись деньгами и привели дорогу на участки в относительный порядок. Водопровод строить не стали. Рядом озеро. Но со временем чистоте озерной воды перестали доверять. Те владельцы, кто побогаче, пробурили себе личные скважины. Остальные стали пользоваться для питьевых нужд покупной водой. Воду для бытовых нужд и полива собирал дождевую, с крыши. У меня установлен бак для сбора дождевой воды объемом один кубометр.

Бурить скважину дорогое удовольствие. Один метр пять тысяч рублей. Глубина залегания коренной воды колеблется в наших местах от пятидесяти до ста метров. Кто-то колодцы выкопал. Я пытался сделать колодец. Выкопал семь метров, глубже экскаватор не взял. Воды не было. Закопал все обратно.

Как-то в народе возникла идея пробурить общественную скважину. Желающих участвовать набралось четырнадцать человек. Подумали, и решили сделать общественную ручную колонку с хорошей и чистой водой. Наняли сообща профильную фирму, которая взялась сделать скважину под ключ. Насос решили поставить ручной. Подобрали место для колонки, которое всех устроило. Пробурили и поставили ручной насос.

Ручной насос «Watergood» фото1

Повезло. Сначала пошел дерн, потом ломовая глина, потом на восьми метрах появился песчаный грунт и вода.

Получилось некоторое подобие абиссинской скважины. Принцип работы простой. Песок хорошо фильтрует и проводит воду. Все что нужно это просто промыть скважину, и подождать один-два дня. Вода очистится, фильтр сделает свое дело. Можно начинать эксплуатацию. Мы сдавали воду на анализ на пригодность для использования. Обычная чистая вода. Конечно, нужно кипятить перед использованием в качестве питьевой

Я заплатил за работу по бурению скважины, и ручной насос пять тысяч рублей. Плюс немного денег на специальный фильтр для воды. Неудачная затея с колодцем стоила гораздо дороже.

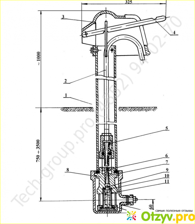
Сам насос представляет собой простое устройство, которое практически никогда не ломается.

Ручной насос «Watergood» фото2

Воду может поднимать на высоту девять метров. В нижней части фланец с четырьмя отверстиями для установки. Качаешь рычаг, и льется вода. Похож на насос для подкачки автомобильных шин. Можно использовать зимой. Все что нужно, дружить с соседями и уметь договариваться.

Достоинства: недорого, практично, круглогодично
Недостатки: пока недостатков не заметил

Видео обзор

Все(1)
Ручной насос «Watergood»    

РКН: сайт youtube.com нарушает закон РФ

Время использования: 2 дней
Стоимость: 5 500 руб.
Общее впечатление: Хороший ручной насос для круглогодичного использования на даче
Моя оценка:
5
Рекомендую друзьям: Да
Тэги: на даче, watergood




Комментарии на отзыв:

Добавить комментарий

Обязательно
Обязательно
Обязательно